Find suitable spare parts or accessories to your Einhell products.
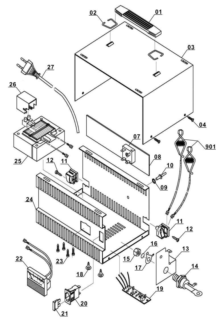
The CC-BC 10 E battery charger is a powerful automatic 12 V electronic charging device. The present charging current can be safely read via the inbuilt amperemeter. The electronic charging system limits the charging voltage to maximal 14.1 Volt (IU-charging curve); thus, an overcharging of the plugged battery is impossible and the charging process needs not to be controlled. Therefore, the battery charging device is especially suitable for modern, maintenance-free batteries as well as for preserving charging of sparely used batteries. The both powerful, all-insulated terminal clamps ensure optimal contact to the battery terminals at any time. The device can be safely and easily transported by the handy and stable carrying handle.
Technical details
Related downloads
Customer reviews
Einhell does not ensure - with the exception of the "Verified Purchase" cases - that the published reviews come from such consumers who have actually used or purchased the products.
