Find suitable spare parts or accessories to your Einhell products.
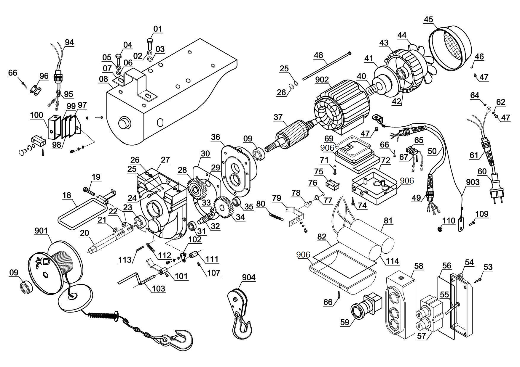
The Einhell TC-EH 1000 cable winch is a powerful assistant for lifting and transporting heavy loads in the hobby workshop or garage or when performing home construction work. For Einhell the priority here is safety and functionality: the cable winch has an extra-long 18 meter twist-free wire cable (diameter of 6 millimeters), so that the maximum lifting height without a guide roller is 18 meters and loads up to 500 kilograms can be moved - with a speed of eight meters per minute. With the help of the guide roller the load capacity increases to 999 kilograms, the lifting height is nine meters and the lifting speed is four meters per minute. The guide roller with load hook therefore doubles the maximum load weight. For extra safety while working there is an operator switch with emergency stop function and a safety catch on the load hook. In addition, an automatic brake secures the load in every position. The cable winch is also equipped with an automatic limit cut-out, which prevents the motor overheating at the same time. The motor with thermostatic switch contributes to a long service life and, with its power rating of 1,600 W, provides powerful and dynamic service. For easy mounting the equipment comes complete with two double clamps, so the user has no problem here either.
Technical details
Related downloads
Customer reviews
Einhell does not ensure - with the exception of the "Verified Purchase" cases - that the published reviews come from such consumers who have actually used or purchased the products.
